
小米申请推理大模型MiMo商标
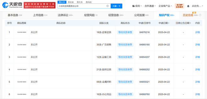
天眼查App显示,近日,小米科技有限责任公司申请注册多枚“XIAOMI MIMO”商标,国际分类为运输工具、科学仪器、通讯服务等,当前商标状态均为等待实质审查。公开信息显示,Xiaomi MiMo是小米首个推理大模型,联动预训练到后训练,全面提升推理能力,于2025年4月30日开源。
天眼查App显示,近日,小米科技有限责任公司申请注册多枚“XIAOMI MIMO”商标,国际分类为运输工具、科学仪器、通讯服务等,当前商标状态均为等待实质审查。公开信息显示,Xiaomi MiMo是小米首个推理大模型,联动预训练到后训练,全面提升推理能力,于2025年4月30日开源。