
恒大地产等被执行16.7亿
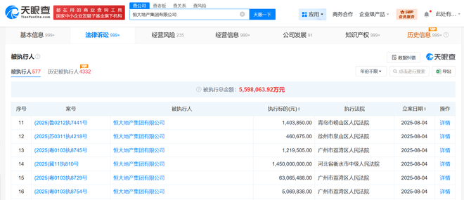
天眼查App显示,8月4日至8月5日,恒大地产集团有限公司新增16条被执行人信息,执行标的合计16.7亿余元,涉及票据纠纷、合同纠纷等案件,部分案件被执行人还包括衡水恒德房地产开发有限公司、广州恒大材料设备有限公司等,执行法院为广州市黄埔区人民法院、河北省衡水市中级人民法院等。
风险信息显示,恒大地产集团有限公司现存570余条被执行人信息,被执行总金额超559亿元,此外,该公司还存在多条限制消费令、失信被执行人(老赖)及终本案件信息。
天眼查App显示,8月4日至8月5日,恒大地产集团有限公司新增16条被执行人信息,执行标的合计16.7亿余元,涉及票据纠纷、合同纠纷等案件,部分案件被执行人还包括衡水恒德房地产开发有限公司、广州恒大材料设备有限公司等,执行法院为广州市黄埔区人民法院、河北省衡水市中级人民法院等。
风险信息显示,恒大地产集团有限公司现存570余条被执行人信息,被执行总金额超559亿元,此外,该公司还存在多条限制消费令、失信被执行人(老赖)及终本案件信息。